根据《关于举办2020年学校科技活动周的通知》文件精神,人文教育学院领导高度重视科技周相关活动,我院教师2021-2022年申报了多项实用新型专利,促进了教育教学工作。其中:
卜繁琪,外观设计名称:钢琴
1、本外观设计产品的名称:钢琴。
2、本外观设计产品的用途:本外观设计产品用于钢琴。
3、本外观设计产品的设计要点:在于形状。
4、最能表明设计要点的图片或照片:立体图。

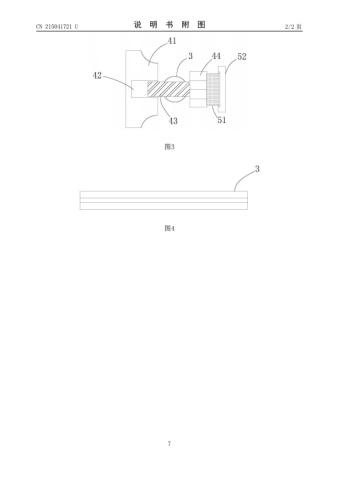
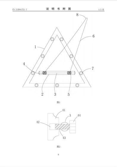
段玉林,实用新型专利名称:一种可绘制椭圆的尺具。本实用新型属于教具用品技术领域,具体涉及一种可绘制椭圆的尺具,包括尺具框架,所述尺具框架内水平开设有通槽,所述通槽内壁的两端布置有中空滑轨;所述中空滑轨上设有第一活动钮和第二活动钮,所述第一活动钮和所述第二活动钮上布置有绘制辅助线;该尺具不仅能够绘制常规图形,还可绘制椭圆,并且可通过调节绘制辅助线的长度和两个焦点间的距离来绘制大小不同的椭圆,能够保证较高的绘制效率;此外,还可以通过收卷绘制辅助线,确保该尺具不占用过多面积,可吸附在黑板上便于取用,从而较佳地满足教学需求,且整个装置结构简单,操作方便,便于推广使用。

张蕊,实用新型名称:一种带多种颜色笔头的书写笔,本实用新型属于教具用品技术领域,具体涉及一种带多种颜色笔头的书写笔,包括笔筒,所述笔筒的侧面竖直方向开设有若干通槽,所述通槽内活动插接有按压组件,所述按压组件用于固定笔头和通过按压移动笔头位置;沿所述笔筒的轴线上活动插接有固定杆,所述固定杆的侧壁开设有槽口;所述按压组件与所述槽口处于同一径向位置;本实用新型能够在一支笔中布置多种颜色笔芯,且还可根据使用者搭配笔的颜色,通过按压、转动实现更换,在更换笔芯时保证较高的效率的同时,能够保证每次笔芯均能安装在固定杆的中心位置,且不易发生脱落,提高了书写时的体验感,且该书写笔结构简单,稳定性高,设计合理,便于行业内推广使用。

人文教育学院此次专利展览活动开展的非常成功,让广大教师提高自身的科学素质、培养自己的兴趣爱好、增强了广大教师的创新精神和实践能力。
(撰稿、截图:宋志臣 审核:李文权 发布:罗璐)